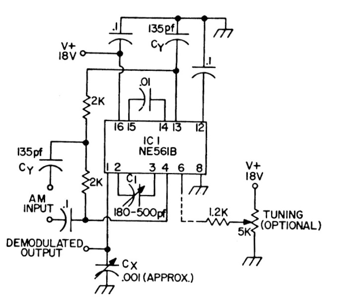
Con este circuito es posible sintonizar una señal AM usando un potenciómetro de 5k (4k7). El circuito fue encontrado en una publicación de la década de 1980 y el PLL puede ser reemplazado por uno equivalente, con las debidas pruebas.

 

Sintonizador AM PLL
Sintonizador AM PLL | Haga click en la imagen para ampliar |