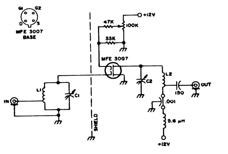
Encontramos este preamplificador de 150 MHz con 20 dB de ganancia en una documentación de la década de 1980. El FET utilizado es de un tipo inusual y se pueden utilizar equivalentes de doble puerta. El circuito es muy crítico para la frecuencia a la que opera.




