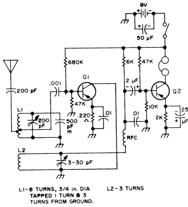
Este receptor de dos transistores para la banda de 3,5 MHz se encontró en un manual de circuitos de la década de 1980. Los datos de la bobina se encuentran junto al diagrama y los transistores pueden ser PNP de propósito general.
Este receptor de dos transistores para la banda de 3,5 MHz se encontró en un manual de circuitos de la década de 1980. Los datos de la bobina se encuentran junto al diagrama y los transistores pueden ser PNP de propósito general.