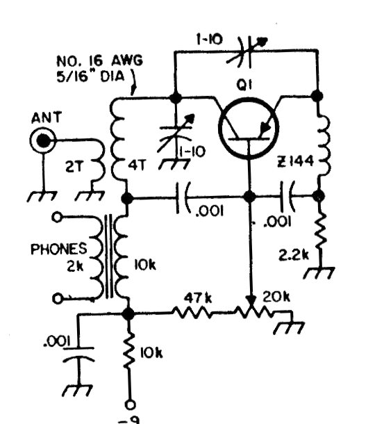
Este simple receptor superregenerativo se encontró en la documentación estadounidense de la década de 1980. El transistor puede ser el BF494 o equivalente y las bobinas dependen de la frecuencia que desee recibir. La señal se aplica a auriculares o a una etapa de amplificación.

Receptor de 90 a 150 MHz



