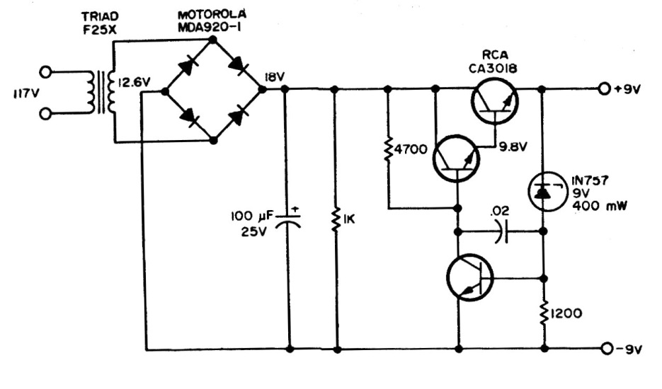
Esta pequeña fuente de alimentación es adecuada para alimentar dispositivos que utilizan baterías de 9 V. El circuito utiliza transistores de un circuito integrado de la época (años 80), pero que pueden ser reemplazados por equivalentes modernos. Los diodos son 1N4002.




