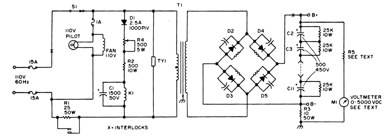
Los diodos de esta fuente de alimentación son de 2,5 V x 1000 V. El circuito proporciona una tensión muy alta para los transmisores de tubo. Las resistencias en paralelo con los diodos de alta tensión son de 470 k y los capacitores son de 500 uF x 450 V. El transformador tiene 2200 V de secundario con una corriente de 500 mA.




