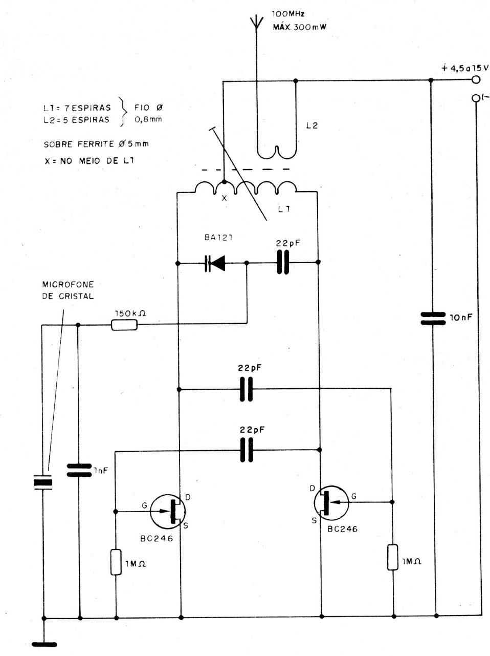
Este transmisor con FET en contrafase fue obtenido en una documentación de los años 90. El transmisor tiene modulación por micrófono de cristal o cerámica y los detalles de las bobinas se dan al lado del diagrama. El circuito está alimentado por tensiones de 4.5 a 15 V.




