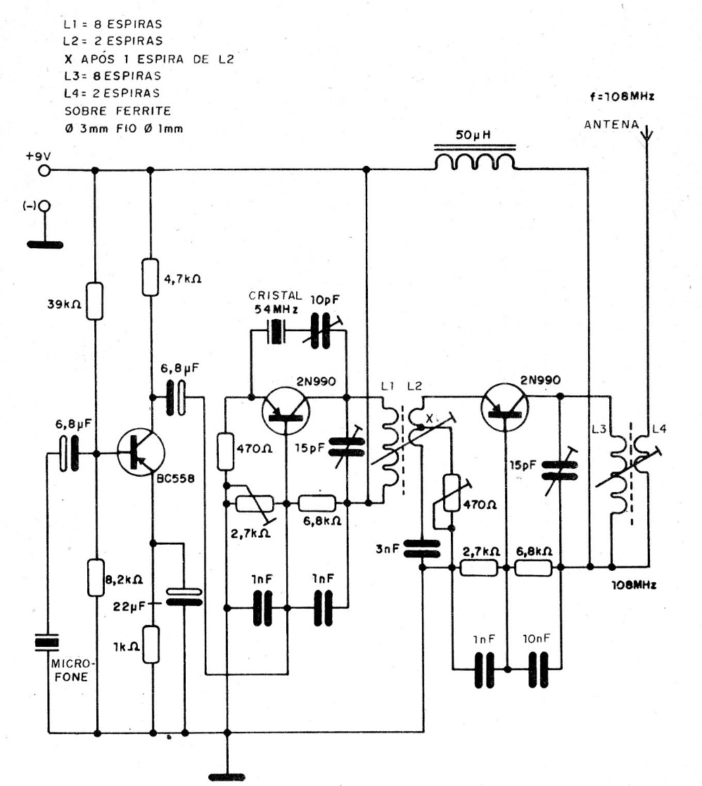
Este circuito utiliza un cristal de 54 MHz cuya frecuencia se duplica para operar en 108 MHz. El circuito es de un libro espía de los 80 y los transistores admiten equivalentes. Los detalles de las bobinas se dan en el propio diagrama.
Este circuito utiliza un cristal de 54 MHz cuya frecuencia se duplica para operar en 108 MHz. El circuito es de un libro espía de los 80 y los transistores admiten equivalentes. Los detalles de las bobinas se dan en el propio diagrama.