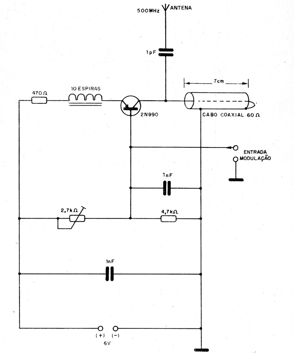
Por supuesto, con un cambio en la longitud del cable, la frecuencia se puede cambiar siempre que esté dentro del rango operativo del transistor. Los capacitores deben ser cerámicos y las conexiones entre los componentes deben ser muy cortas.
Por supuesto, con un cambio en la longitud del cable, la frecuencia se puede cambiar siempre que esté dentro del rango operativo del transistor. Los capacitores deben ser cerámicos y las conexiones entre los componentes deben ser muy cortas.