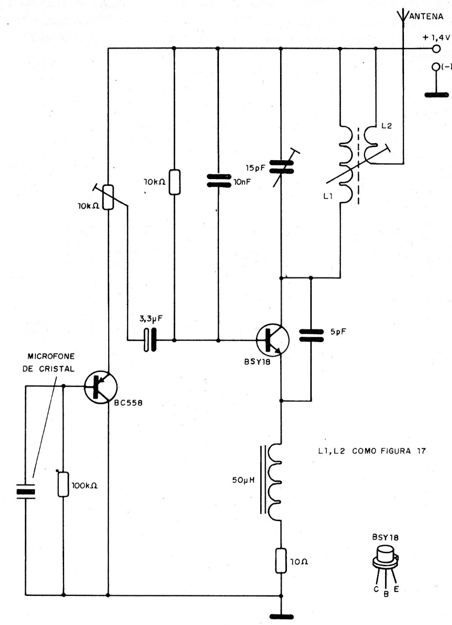
Este transmisor funciona con una tensión de solo 1,4 V y luego puede ser alimentado por una sola batería, incluso del tipo de botón. El circuito es de la documentación de los 90 y la bobina puede ser como la del CIR12914. Los transistores admite equivalentes.




