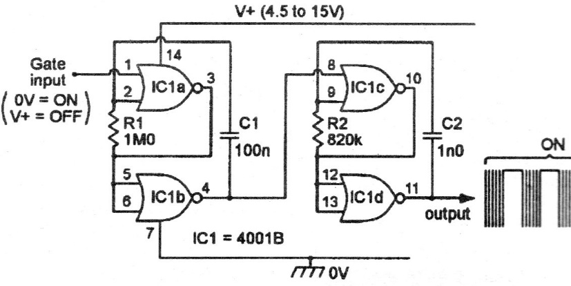
Con los valores de los componentes utilizados en este circuito, la señal producida es rectangular de 800 Hz con intervalos determinados por el segundo oscilador, dando un efecto de sirena. Alimentando con 5 V el circuito puede funcionar como un excelente shield para microcontroladores. El circuito es de documentación de los 90.




