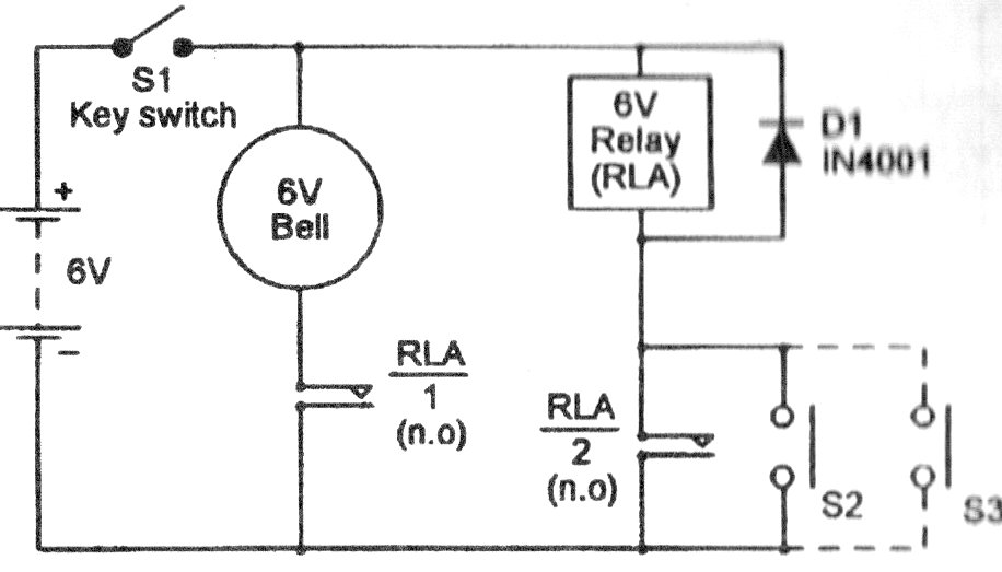
Este circuito simple, que se encuentra en la documentación estadounidense, utiliza solo un relé que se bloquea cuando se activa cualquiera de los sensores. Para reiniciar, simplemente apague la alimentación por un momento. Se pueden controlar sistemas de advertencia de mayor potencia.




