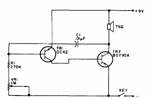
Encontrado en una publicación para radioaficionados de 1975, este simple oscilador se destina a la práctica de código Morse. El transistor PNP puede ser el BC558 y el NPN el BC548. La alimentación se puede realizar con tensiones de 6 a 9 V. El tono se ajusta en el potenciómetro.




