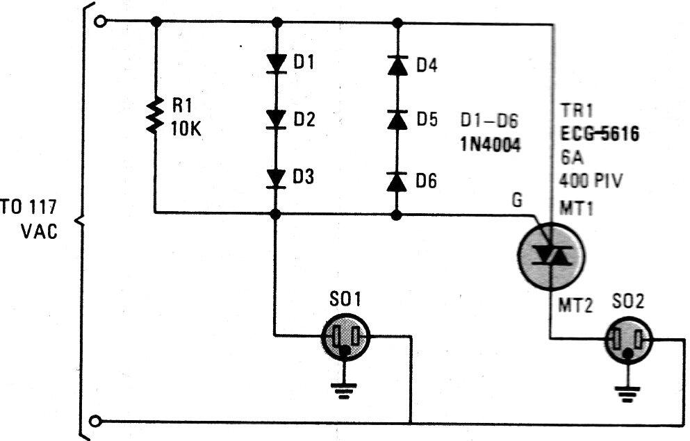
Cuando se enciende el equipo alimentado por el enchufe SO1, el enchufe SO2 se energiza automáticamente, alimentando el equipo conectado a él. Los diodos deben tener corriente según lo que esté conectado a los enchufes, así como al Triac. El circuito es de una publicación estadounidense de 1991, pero aún está actualizado. Para 1N4004, la corriente es 1 A.




