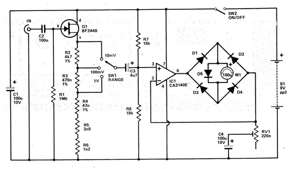
Encontramos este circuito en una antigua documentación inglesa de 1979. El circuito es muy sensible, porque gracias al FET tiene una alta impedancia de entrada. La precisión depende de la tolerancia de los resistores y, en lugar del instrumento indicador, se puede utilizar el rango de corriente correspondiente de un multímetro común. Los diodos del puente deben ser de germanio.




