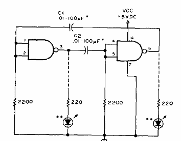
Esta configuración TTL tradicional se obtuvo en una documentación de 1977. La alimentación debe hacerse con 5 V y los capacitores se pueden cambiar para operar en otras frecuencias.

Pulsador LED 7400
Esta configuración TTL tradicional se obtuvo en una documentación de 1977. La alimentación debe hacerse con 5 V y los capacitores se pueden cambiar para operar en otras frecuencias.
