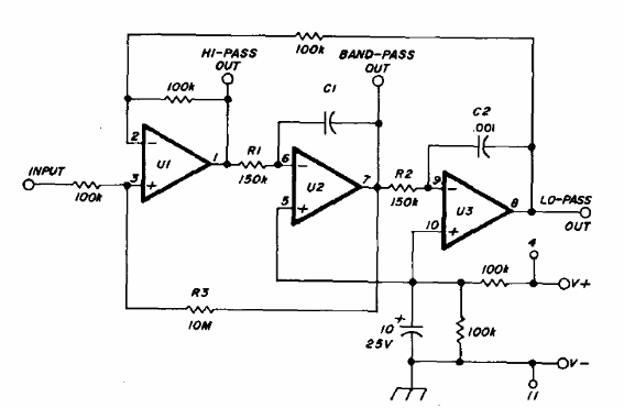
Encontramos esta configuración en un manual de filtro activo de 1978. Este filtro con salidas de paso alto, paso bajo y paso bajo se puede implementar con casi cualquier amplificador operacional común. La fuente de alimentación debe ser simétrica y la frecuencia central es de 1 kHz.

Filtro triple con operacionales



