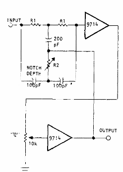
Encontramos este filtro en una documentación técnica antigua. El circuito se utiliza en filtros estéreo de FM y se puede implementar con otros amplificadores operacionales. La fuente de alimentación debe ser simétrica. R1 es 86k y R2 47k.

Filtro de rechazo de 19 kHz



