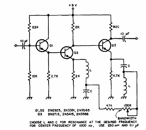
Este circuito se obtuvo de la documentación para radioaficionados en 1974. El circuito LC determina la frecuencia del filtro. Los transistores pueden ser 2N2222 o incluso BC548.

Filtro de paso de banda de 1 kHz
Este circuito se obtuvo de la documentación para radioaficionados en 1974. El circuito LC determina la frecuencia del filtro. Los transistores pueden ser 2N2222 o incluso BC548.
