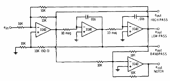
Este filtro es de un manual CMOS de 1977. El circuito funciona como paso bajo, paso alto, rechazador (notch) y también pasa bandas. Podemos modificar su frecuencia cambiando los capacitores. Los operadores deben estar alimentados por una fuente simétrica.

Filtro universal de 1 kHz



