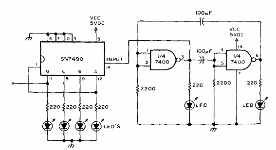
Este circuito genera pulsos para encender 4 LED en un sistema de conteo binario. El circuito es un manual de circuitos integrados TTL y debe ser alimentado por 5 V. Recomendamos este circuito al aprender la numeración binaria.

Demostrador binario
Este circuito genera pulsos para encender 4 LED en un sistema de conteo binario. El circuito es un manual de circuitos integrados TTL y debe ser alimentado por 5 V. Recomendamos este circuito al aprender la numeración binaria.
