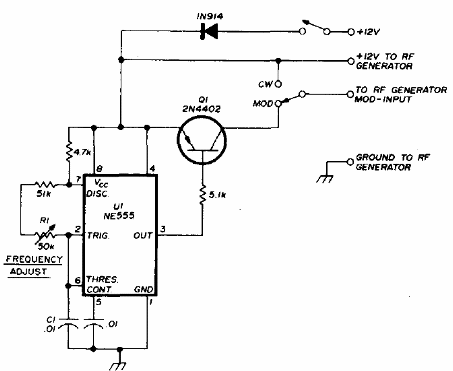
Este circuito es de un manual de radioaficionado de 1976. El transistor puede ser el BD136 y el ajuste de frecuencia se realiza en un potenciómetro. La alimentación se puede realizar con tensiones de 6 a 15 V.

Modulador de 1 kHz para VHF
Este circuito es de un manual de radioaficionado de 1976. El transistor puede ser el BD136 y el ajuste de frecuencia se realiza en un potenciómetro. La alimentación se puede realizar con tensiones de 6 a 15 V.
