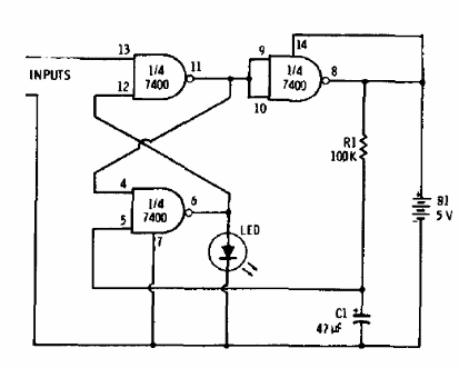
Este circuito monoestable, de una documentación de Radio Shack de 1977, utiliza un 7400. El tiempo lo da el capacitor y la alimentación debe ser de5 V.

Monoestable con indicador LED
Este circuito monoestable, de una documentación de Radio Shack de 1977, utiliza un 7400. El tiempo lo da el capacitor y la alimentación debe ser de5 V.
