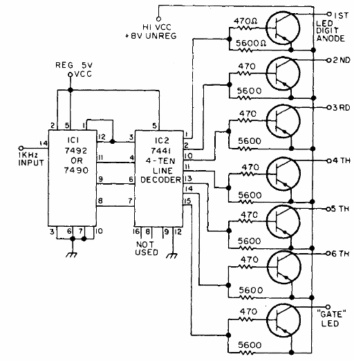
Este circuito hace que una secuencia de LED funcione tan rápido que nuestros ojos no pueden detectar el cambio. El circuito se puede utilizar para demostrar la persistencia de la retina en clases de física. La señal de entrada se puede generar con el 555. La potencia es TTL. El circuito se encontró en una documentación de 1975. Los transistores pueden ser el BC558.

LED estroboscópicos



