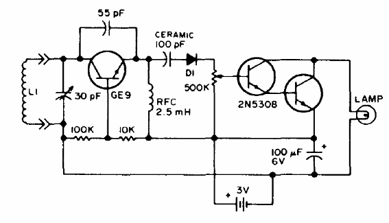
Este circuito es de una publicación estadounidense de 1973. Podemos implementarlo con el NF494 para el transistor de RF y el BC548 para los demás. La lámpara se puede reemplazar por un LED en serie con una resistencia de 220 ohmios. La bobina depende de la frecuencia que desee detectar. El diodo es de germanio como 1N34. El circuito opera hasta una frecuencia de unas pocas decenas de megahertz.




