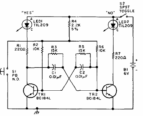
Los transistores de este circuito de una publicación de 1975 pueden ser BC548 y LED comunes, preferiblemente de diferentes colores. El circuito puede funcionar con baterías.

Lanza Moñedas 2
Los transistores de este circuito de una publicación de 1975 pueden ser BC548 y LED comunes, preferiblemente de diferentes colores. El circuito puede funcionar con baterías.
