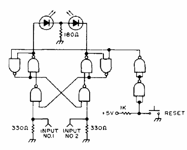
Este circuito se obtuvo en una antigua publicación americana de 1974. El suministro debe hacerse con 5 V y los circuitos integrados utilizados son el 7400. Ver en los libros de datos el pinout del 7400. Los LED son comunes.

TTL Speed Game
Este circuito se obtuvo en una antigua publicación americana de 1974. El suministro debe hacerse con 5 V y los circuitos integrados utilizados son el 7400. Ver en los libros de datos el pinout del 7400. Los LED son comunes.
