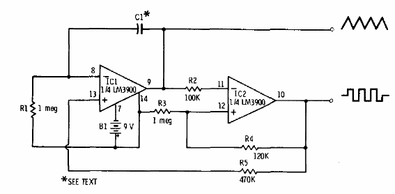
Este circuito es de la documentación de Radio Shack de 1977. La frecuencia depende del capacitor. El circuito puede generar de 0,5 Hz a 20 kHz. Con 1 uF la frecuencia será de 3800 Hz. El circuito debe alimentarse con tensiones de 6 a 12 V.

Generador cuadrado y triangular con el LM3900



