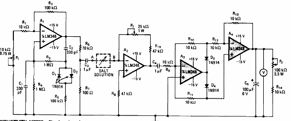
Este circuito mide la conductividad de una solución salina, que se ve afectada por el efecto de electrólisis. El circuito es de una publicación de 1978 y el voltímetro puede ser un multímetro ordinario o incluso digital. El circuito debe estar alimentado por una fuente bien estabilizada.

Medidor de conductividad



