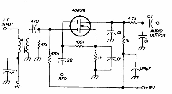
Este circuito se coloca después de la FI de un receptor para recibir señales SSB y CW. El circuito utiliza un MOSFET de doble puerto que admite equivalentes. Encontramos este circuito en una publicación antigua para radioaficionados. Los capacitores son de cerámica y el circuito debe conectarse a la entrada de paso de audio del receptor.

Detector de producto



