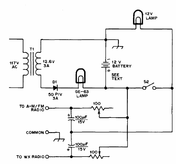
Este circuito es de una publicación estadounidense de 1978 y actualmente se puede ensamblar con cambios menores. La lámpara principal puede ser una lámpara LED, mientras que la GE-63 puede ser una lámpara de automóvil de 12 V x 200 mA o incluso un resistor de 47 ohmios x 5 W. El circuito también tiene salidas para alimentar un AM/FM radio de 12 V.

Luz de emergencia de 12 V



