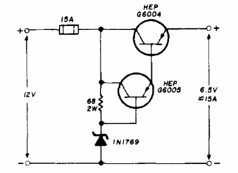
Con el transistor original de este circuito de 1976, la corriente de carga máxima es de 15 A, pero podemos tener corrientes más pequeñas, del orden de 5 A, con 2N3055. El transistor de mayor potencia debe estar equipado con un radiador de calor y el zener es de 6,8 V. El transistor HEPG6005 más pequeño puede ser el TIP31.

Convertidor de 12 a 6 V



