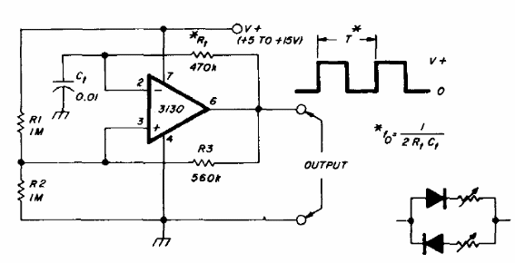
Encontramos este oscilador en una documentación de radioaficionados de 1978. El circuito admite otros amplificadores operacionales con FET. La red de retroalimentación formada por R1 puede ser reemplazada por el circuito con diodos y potenciómetros de 1 M para ajustar el ciclo activo. La fuente de alimentación no tiene que ser simétrica.

Oscilador 1 Hz a 1 MHZ



