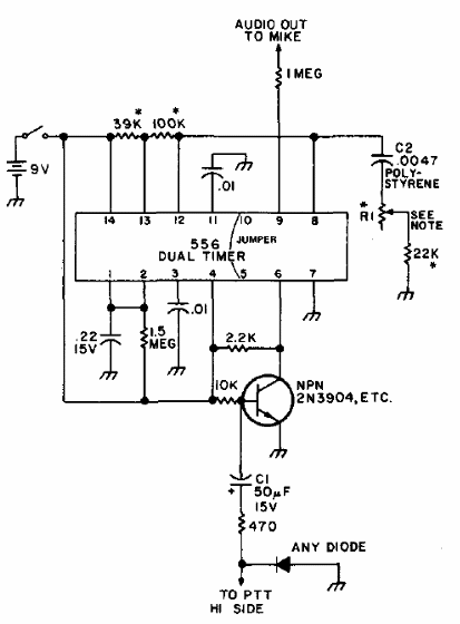
Este circuito se utiliza para probar cables de audio y amplificadores. El 556 es un doble 555. El circuito se encontró en una documentación de 1976 y se puede cambiar a otras frecuencias. La alimentación puede realizarse con tensiones de 6 a 12 V. El transistor puede ser BC548 o equivalente.

Generador de Salva



