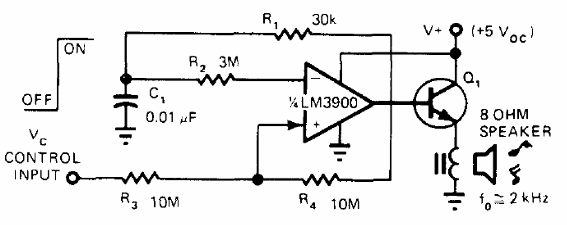
Este circuito es de una publicación de 1977, que sirve para producir efectos de sonido en juegos, ya que es disparado por una señal digital. El transistor de salida puede ser un BC548 y el suministro se realiza con 5 V. Los resistores de valores no comunes se pueden aproximar según los estándares actuales. El altavoz, en realidad, puede tener impedancias de 8 a 100 ohms, dependiendo de la intensidad del sonido deseado.




