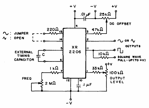
Encontramos este circuito en una documentación de 1977. El XR2206 no es fácil de obtener, pero consiste en un generador de funciones con 3 señales de forma de onda en el rango de 0.5 a 100 kHz. El capacitor externo determina el rango de frecuencia. Para 0,1 uF tenemos de 5 a 10 kHz y para 10 nF de 50 a 100 kHz. El circuito puede ser alimentado por fuentes simétricas de 6 a 12 V.




