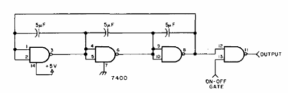
Este circuito lo encontramos en una publicación americana en 1977. El circuito integrado es el 7400 y el suministro debe hacerse con 5 V. La señal de salida es rectangular y la frecuencia está dada por capacitores que pueden ser tipos actuales de 4,7 uF.

Oscilador Disparado de 800 a 1 kHz TTL



