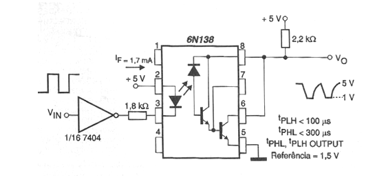
Tenemos en la figura la configuración del 6N138 como un Darlington convencional. En esta configuración no hay necesidad de un circuito de polarización. La velocidad de transferencia de datos es de 2 kB / sy el voltaje de la señal de salida varía entre 1 y 5 V.

Darlington convencional



