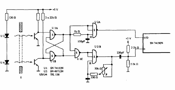
Este circuito reemplaza un interruptor de palanca común con un interruptor óptico sin ruido y sin problemas de contactos. El circuito es TTL y sugerido por el manual de optoelectrónica de Texas Instruments. En una aplicación actual, se puede utilizar como sensor de pantalla para microcontroladores.

Interruptor digital



