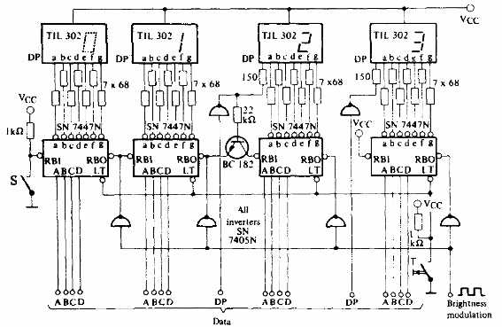
El display de 4 dígitos que se muestra utiliza módulos de ánodo común de 7 segmentos. El circuito es TTL sugerido por el manual de optoelectrónica de Texas Instruments. La alimentación debe realizarse con 5 V.

Display TTL de 4 dígitos
El display de 4 dígitos que se muestra utiliza módulos de ánodo común de 7 segmentos. El circuito es TTL sugerido por el manual de optoelectrónica de Texas Instruments. La alimentación debe realizarse con 5 V.
