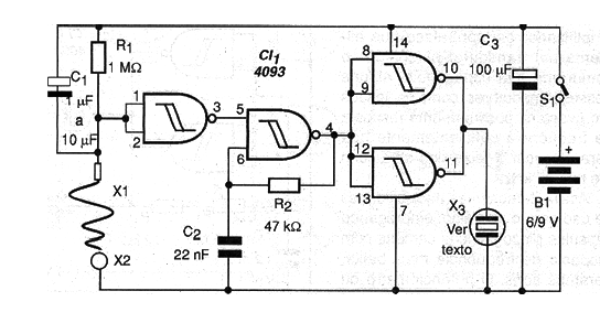
El Nerve-test es un juego electrónico tradicional. El jugador debe pasar un anillo de metal a través de un cable tortuoso, sin dejar que toque ese cable. Si esto ocurre, el circuito se dispara indicando una falla. El ganador es quien logra pasar el anillo hasta el final del cable o incluso cometer menos fallas. La versión de la figura dispara un oscilador por un período de tiempo determinado, el cual emite un sonido, cada vez que hay un toque del anillo en el cable (falla). El circuito está cronometrado, lo que significa que independientemente de lo pequeño que sea el toque, el sonido que se emite tiene siempre la misma duración. Esta duración depende de C1 y R1, componentes que puede cambiar el ensamblador. El transductor es una cápsula piezoeléctrica de alta impedancia y el circuito puede funcionar con baterías estándar o baterías. El consumo es muy bajo, ya que se produce prácticamente solo cuando se produce el sonido.




