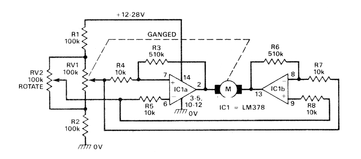
Este control para un pequeño servomotor con una corriente de unos cientos de miliamperios fue encontrado en una publicación inglesa en 1989. Funciona con servos de 12 V a 28 V que deben tener un sistema de retroalimentación para el control de posición realizado por potenciómetro. La posición de RV2 se transmite a RV1 acoplada al motor.




