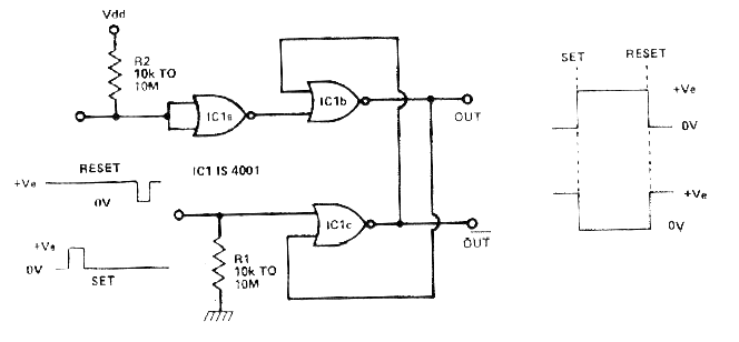
Encontré este circuito en un artículo de la revista Electronics Today International en julio de 1979. Es una configuración biestable que utiliza dos puertas NOR de un circuito integrado 4001. La señal de set y reset consta de pulsos, positivo para Set y negativo para Reset con la tensión de alimentación producida externamente como se indica en el diagrama. El suministro se puede realizar mediante tensiones de 5 a 15 V. Nunca utilice una fuente sin transformador en este tipo de circuito.




