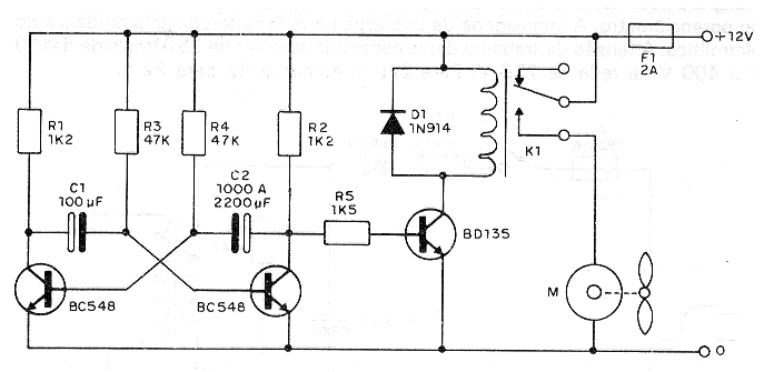
Este circuito enciende y apaga un pequeño ventilador de 12 V a intervalos determinados por los valores de C1 y C2. Estos componentes se pueden cambiar en una amplia gama de valores. El relé es de 12 V y otros equipos que necesitan ser controlados de forma intermitente se pueden conectar a los contactos del relé. Los equipos conectados a la red eléctrica también se pueden controlar, siempre que se alimenten por separado.




