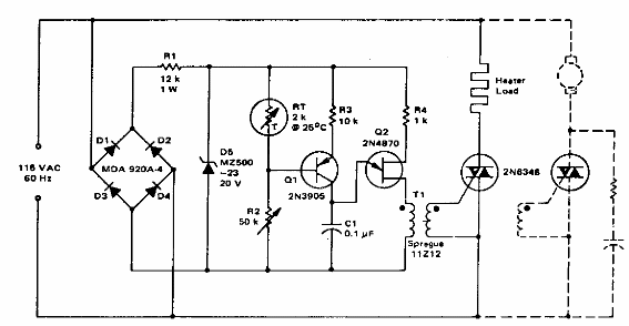
Este circuito de control para el elemento calefactor se encontró en documentación antigua. Actúa directamente sobre el elemento y un motor de refrigeración. El circuito utiliza componentes de los años 80, admitiendo equivalentes modernos.

Control de temperatura con sensor



