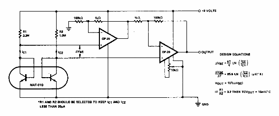
El sensor de temperatura en este circuito de la década de 1980 es un par de transistores en un solo gabinete. Se pueden utilizar amplificadores operacionales equivalentes modernos.

Sensor de temperatura
El sensor de temperatura en este circuito de la década de 1980 es un par de transistores en un solo gabinete. Se pueden utilizar amplificadores operacionales equivalentes modernos.
