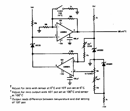
Encontramos este circuito en una publicación de los años 80. El circuito admite amplificadores operacionales modernos equivalentes y el sensor consta de un diodo.

Termómetro de compensación variable
Encontramos este circuito en una publicación de los años 80. El circuito admite amplificadores operacionales modernos equivalentes y el sensor consta de un diodo.
