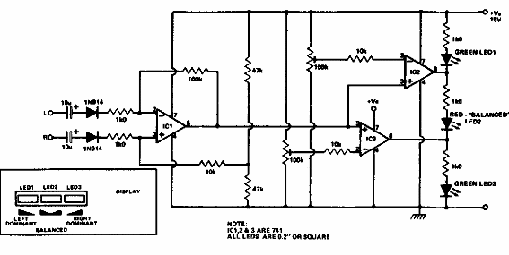
Este circuito se encontró en una documentación inglesa de los años 70. El circuito utiliza 3 LED como indicadores y se puede utilizar prácticamente cualquier operacional o comparador de tensión.

Indicador de balance estéreo
Este circuito se encontró en una documentación inglesa de los años 70. El circuito utiliza 3 LED como indicadores y se puede utilizar prácticamente cualquier operacional o comparador de tensión.
