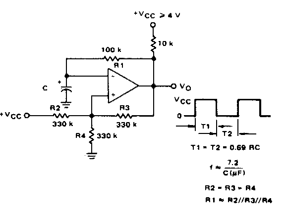
Este circuito multivibrador astable convencional con amplificador operacional se puede encontrar en otra parte de este sitio web. Se aplica a cualquier operacional. Las fórmulas para calcular los componentes se adjuntan al diagrama.

Oscilador rectangular



