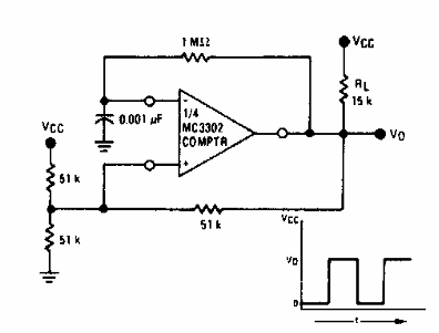
Esta configuración se puede encontrar en varios puntos de esta sección. Esto se obtuvo en una documentación antigua, utilizando un amplificador operacional de la época.

Astable con operaticional
Esta configuración se puede encontrar en varios puntos de esta sección. Esto se obtuvo en una documentación antigua, utilizando un amplificador operacional de la época.
